Textron has been granted a patent for a rotor-hub-flap anisotropic-sensor system that measures rotor hub flapping. The system includes anisotropic sensors, rotor blades, and flight control computers. The sensors use magnets and anisotropic sensors to accurately measure rotor hub movement. GlobalData’s report on Textron gives a 360-degree view of the company including its patenting strategy. Buy the report here.
Discover B2B Marketing That Performs
Combine business intelligence and editorial excellence to reach engaged professionals across 36 leading media platforms.
According to GlobalData’s company profile on Textron, Regenerative braking was a key innovation area identified from patents. Textron's grant share as of April 2024 was 70%. Grant share is based on the ratio of number of grants to total number of patents.
Rotor-hub-flap anisotropic-sensor system for measuring rotor hub flapping

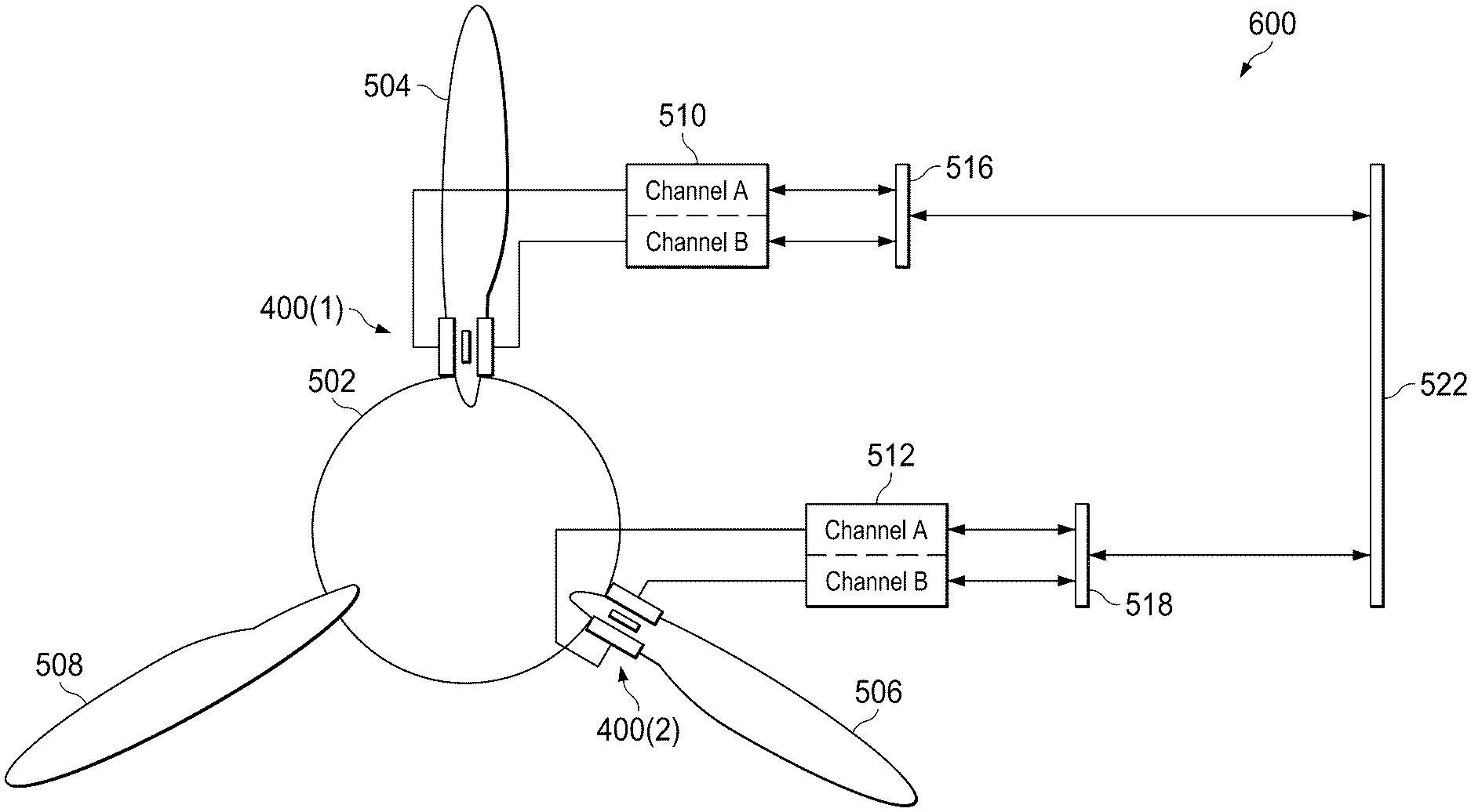
A recently granted patent (Publication Number: US11971277B2) discloses a rotor-hub-flap anisotropic-sensor system designed to measure the flapping of rotor blades on aircraft. The system includes a rotor hub, multiple anisotropic-sensor arrangements connected to the hub, rotor blades, and a flight control computer. Each sensor arrangement consists of magnets, anisotropic sensors, and intermediate circuit boards. The flight control computer can be a single-channel or dual-channel system, with each channel linked to a pair of anisotropic sensors for precise data collection.
Furthermore, the patent details variations in the number and alignment of sensor arrangements and rotor blades. Some sensors may not be azimuthally aligned with any rotor blade, while others are specifically aligned. The system's unique configuration allows for accurate measurement of rotor hub flapping, crucial for flight control and stability. Additionally, the use of single magnets and dual anisotropic sensors in each arrangement enhances the system's efficiency and reliability in monitoring rotor blade movements. Overall, this patented technology represents a significant advancement in sensor systems for rotor aircraft, ensuring safer and more controlled flight operations.
To know more about GlobalData’s detailed insights on Textron, buy the report here.
Data Insights
From
The gold standard of business intelligence.
Blending expert knowledge with cutting-edge technology, GlobalData’s unrivalled proprietary data will enable you to decode what’s happening in your market. You can make better informed decisions and gain a future-proof advantage over your competitors.

