General Electric has patented a Brayton cycle engine with a longitudinal wall defining a gas flowpath. An inner wall assembly creates a rotating detonation combustion region for efficient fuel combustion. The engine includes fuel injectors and an exhaust nozzle for improved performance. GlobalData’s report on General Electric gives a 360-degree view of the company including its patenting strategy. Buy the report here.
Discover B2B Marketing That Performs
Combine business intelligence and editorial excellence to reach engaged professionals across 36 leading media platforms.
According to GlobalData’s company profile on General Electric, Photovoltaic drones was a key innovation area identified from patents. General Electric's grant share as of April 2024 was 71%. Grant share is based on the ratio of number of grants to total number of patents.
Rotating detonation combustion engine with fuel injectors

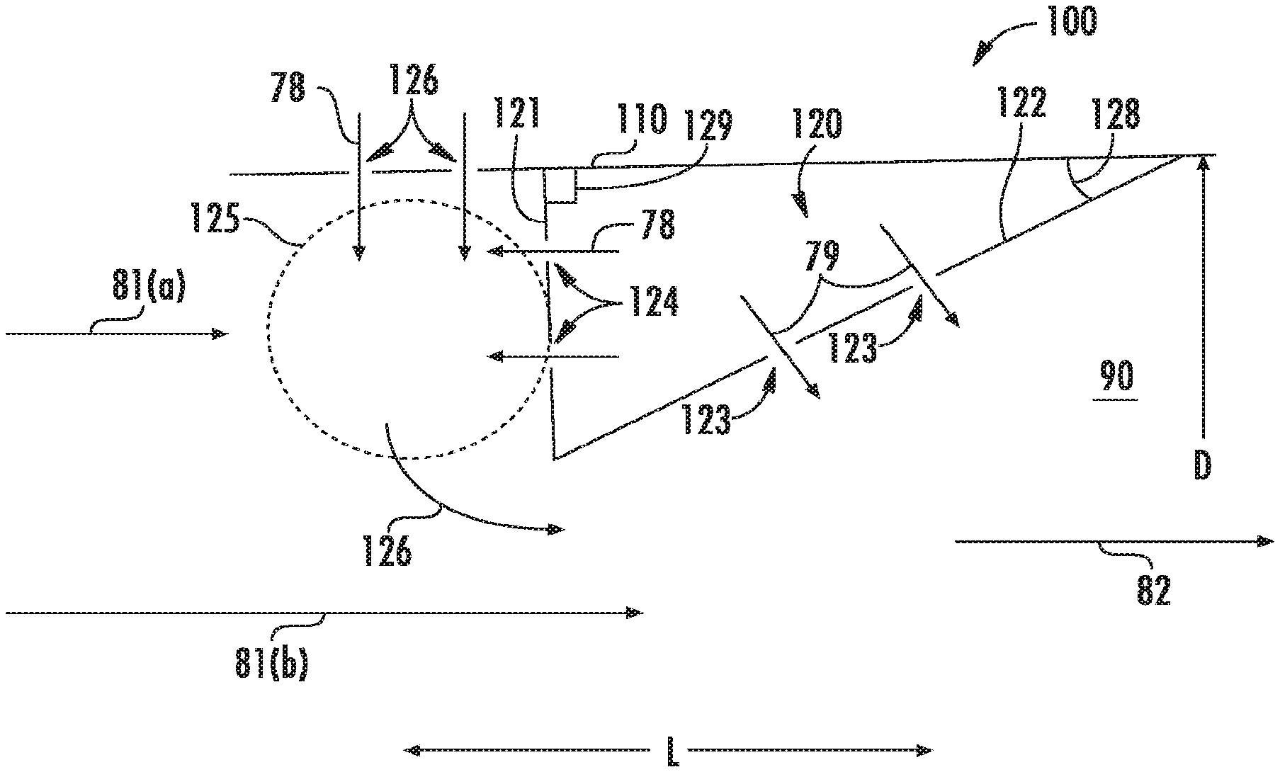
A recently granted patent (Publication Number: US11970994B2) discloses an innovative engine design featuring a longitudinal wall that defines a gas flowpath. The engine includes an inner wall assembly that extends into the gas flowpath, creating a rotating detonation combustion region in the first portion of the flowpath. This combustion region is strategically positioned upstream of the inner wall assembly and adjacent to the longitudinal wall. The inner wall assembly also facilitates an additional combustion region downstream of the rotating detonation combustion region. Fuel injection is achieved through two injectors, with the first injector supplying fuel to the rotating detonation combustion region and the second injector providing fuel for deflagrative combustion in the additional region.
Furthermore, the engine design includes specific features such as fuel injection ports, a sheltered cavity for detonation wave propagation, and an exhaust nozzle distinct from the combustion section. The longitudinal wall of the engine defines various sections, including an inlet section for admitting oxidizer and a combustion section where the inner wall assembly is located. The engine's unique configuration allows for efficient fuel combustion and flow control, with the inner wall assembly extending to a specific depth within the gas flowpath. Additionally, the engine's rectangular cross-section design, with a width and height defining a square area, contributes to its overall performance and functionality. Overall, this patented engine design showcases advancements in combustion technology and flow dynamics, potentially offering improved efficiency and performance in various applications.
To know more about GlobalData’s detailed insights on General Electric, buy the report here.
Data Insights
From
The gold standard of business intelligence.
Blending expert knowledge with cutting-edge technology, GlobalData’s unrivalled proprietary data will enable you to decode what’s happening in your market. You can make better informed decisions and gain a future-proof advantage over your competitors.

