Northrop Grumman has been granted a patent for a key updater that generates a secure key for communication between parties on a network. The system verifies the key with multiple parties and detects any compromised nodes. This innovation enhances network security and data protection. GlobalData’s report on Northrop Grumman gives a 360-degree view of the company including its patenting strategy. Buy the report here.
Discover B2B Marketing That Performs
Combine business intelligence and editorial excellence to reach engaged professionals across 36 leading media platforms.
According to GlobalData’s company profile on Northrop Grumman, Superconducting quantum circuits was a key innovation area identified from patents. Northrop Grumman's grant share as of April 2024 was 65%. Grant share is based on the ratio of number of grants to total number of patents.
Key updater for secure communication between parties on a network

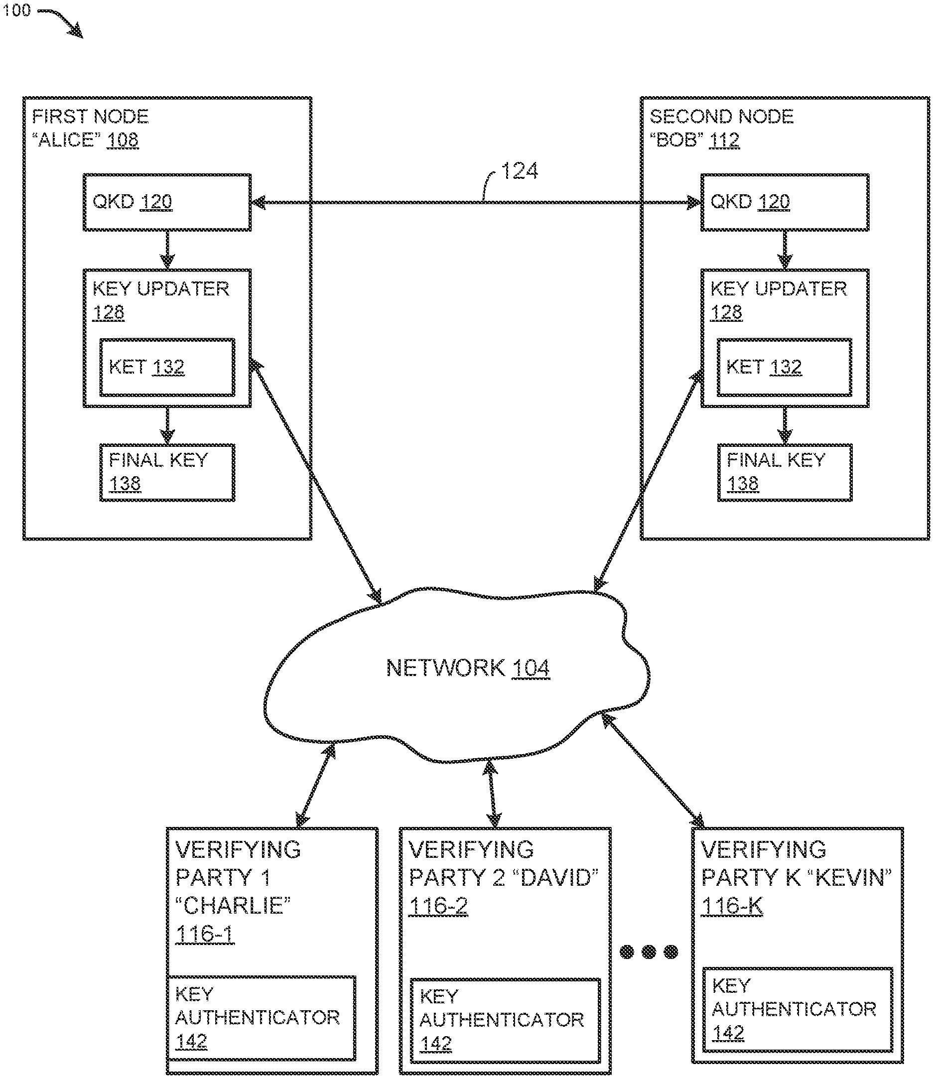
A recently granted patent (Publication Number: US11973861B2) discloses a system and method for updating a key for secure communication between parties on a network. The patent describes a non-transitory machine-readable medium with machine-executable instructions that include a key updater for generating a mutually distilled key for communication between parties and determining verifying parties needed to authenticate the key. The key equivalency test is iteratively executed for each verifying party to determine a nonce sum, leading to the generation of a final key if the test is successful for all verifying parties. The key updater further encrypts and transmits hashed values and nonce values between parties without transmitting the key itself, ensuring secure communication without compromising key information.
Moreover, the patent also covers a system and method for verifying a key between computing devices on a network. The method involves generating a mutually distilled key, determining verifying parties, and iteratively executing a key equivalency test for each party to determine a nonce sum. The final key is generated based on the successful execution of the test for all verifying parties. The method emphasizes secure communication by encrypting and transmitting hashed values and nonce values without revealing the key itself. Additionally, the mutually distilled key can be generated using quantum key distribution techniques over a quantum channel, enhancing the security of the communication process. Overall, the patent provides a comprehensive approach to updating and verifying keys for secure communication on a network, ensuring data confidentiality and integrity without compromising key information.
To know more about GlobalData’s detailed insights on Northrop Grumman, buy the report here.
Data Insights
From
The gold standard of business intelligence.
Blending expert knowledge with cutting-edge technology, GlobalData’s unrivalled proprietary data will enable you to decode what’s happening in your market. You can make better informed decisions and gain a future-proof advantage over your competitors.

