CAE has developed a system for training students using a simulation station with a rules engine and learning objects. The system assesses student knowledge, skill, and ability using biometric data, offering breaks based on student conditions. This innovative technology enhances student learning and engagement during training sessions. GlobalData’s report on CAE gives a 360-degree view of the company including its patenting strategy. Buy the report here.
Discover B2B Marketing That Performs
Combine business intelligence and editorial excellence to reach engaged professionals across 36 leading media platforms.
According to GlobalData’s company profile on CAE, AI assisted CAD was a key innovation area identified from patents. CAE's grant share as of April 2024 was 52%. Grant share is based on the ratio of number of grants to total number of patents.
Interactive training system with rules engine and biometric assessment

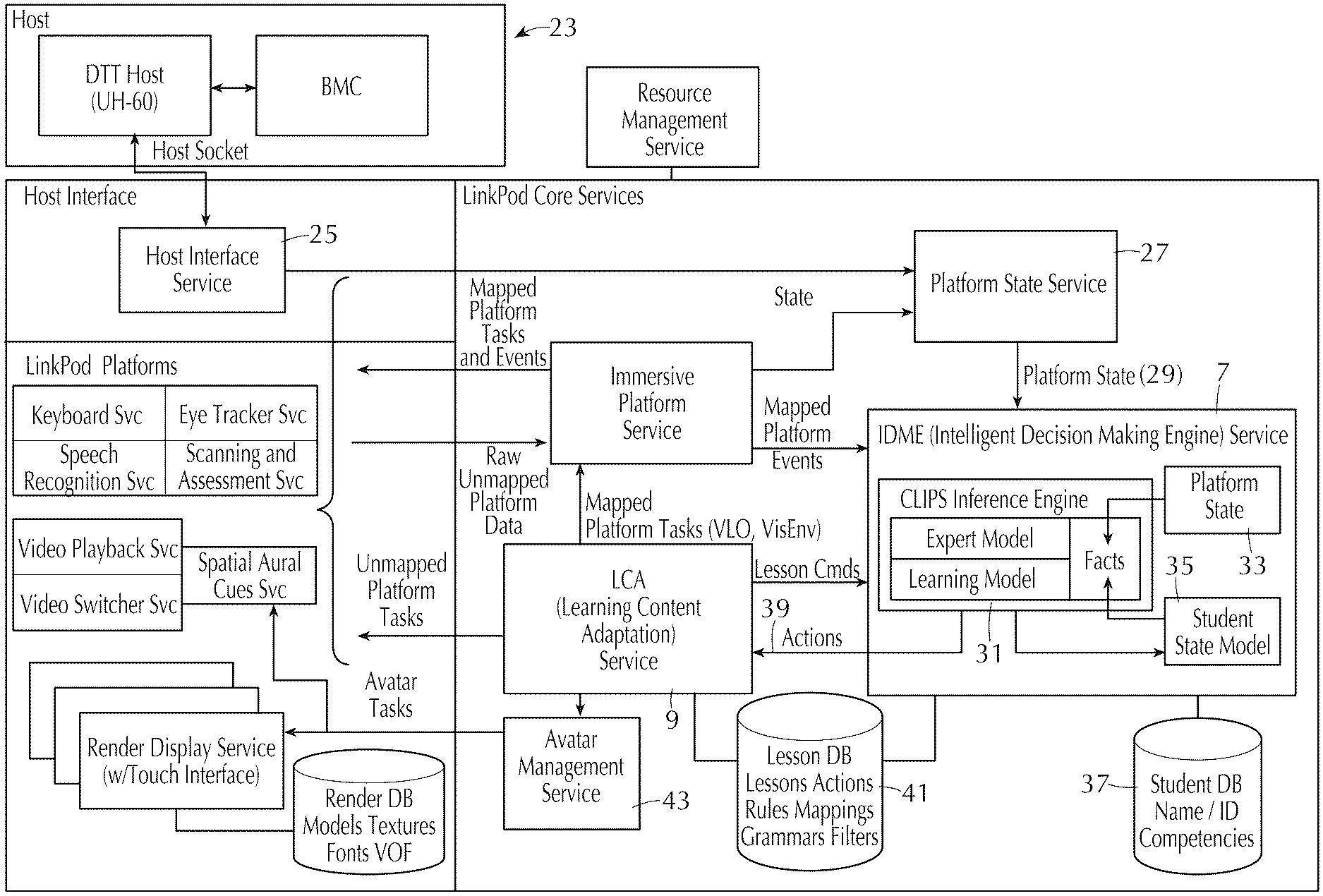
A recently granted patent (Publication Number: US11948475B2) outlines a system designed for training students through computerized methods. The system includes a computer system connected to a training station, equipped with a rules engine and data storage. The system utilizes learning object data and rule data to interact with students at the training station, offering personalized training experiences. Additionally, the system incorporates an assessment module to evaluate the knowledge, skill, and ability (KSA) of the student. Biometric data from a sensor is used to monitor the student's engagement levels, with specific rules triggering actions such as offering breaks based on the biometric data. The assessment module utilizes this biometric data to assess the student's performance accurately.
Furthermore, the system includes features such as training output data, objective data, and remedial training options based on the student's performance. The training station can simulate various scenarios, including a vehicle simulation, providing interactive learning experiences. The system also supports network connectivity, allowing for communication between different components of the training system. By utilizing a graph database to store lesson data and student state data, the system ensures efficient data management and personalized training experiences. Overall, the patented system offers a comprehensive approach to student training, incorporating advanced technologies like biometric sensors and interactive simulations to enhance the learning process and provide tailored feedback to students.
To know more about GlobalData’s detailed insights on CAE, buy the report here.
Data Insights
From
The gold standard of business intelligence.
Blending expert knowledge with cutting-edge technology, GlobalData’s unrivalled proprietary data will enable you to decode what’s happening in your market. You can make better informed decisions and gain a future-proof advantage over your competitors.

