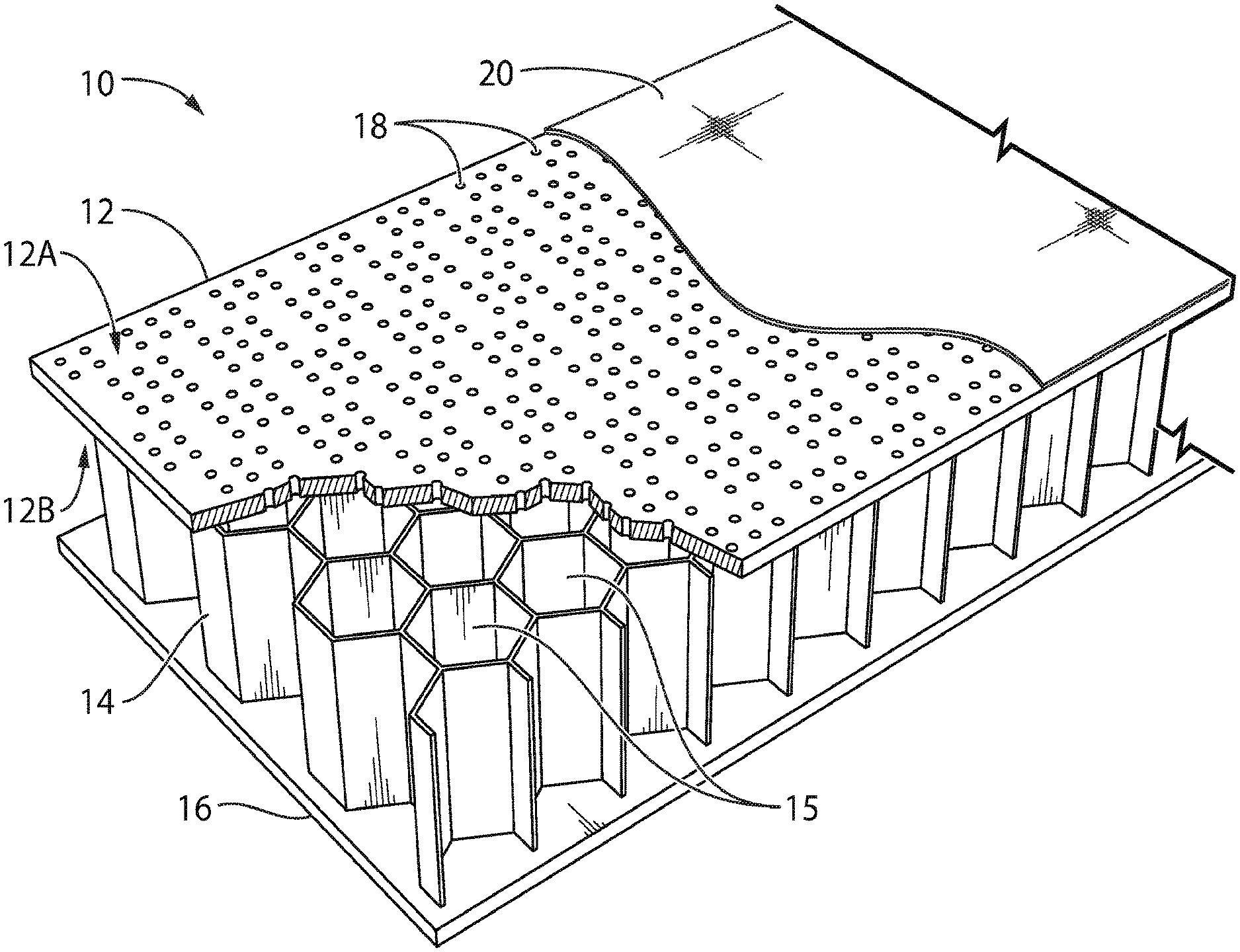
Spirit AeroSystems has patented a method for manufacturing noise-attenuating devices using abrasive blasting masks. The process involves bonding a facing sheet to a cellular core and perforating it with images projected onto a photosensitive masking material to create holes while avoiding damage to the core structure. GlobalData’s report on Spirit AeroSystems gives a 360-degree view of the company including its patenting strategy. Buy the report here.
Discover B2B Marketing That Performs
Combine business intelligence and editorial excellence to reach engaged professionals across 36 leading media platforms.
According to GlobalData’s company profile on Spirit AeroSystems, Photovoltaic drones was a key innovation area identified from patents. Spirit AeroSystems's grant share as of April 2024 was 56%. Grant share is based on the ratio of number of grants to total number of patents.
Method for manufacturing noise-attenuating devices using abrasive blasting masks

A recently granted patent (Publication Number: US11911873B2) discloses a method for manufacturing a noise-attenuating device involving bonding a facing sheet to a cellular core and then perforating the facing sheet using abrasive blasting. The method includes producing an abrasive blasting mask by applying a photosensitive masking material on the facing sheet and selectively exposing it to light to create holes in specific regions. The patent also details the use of data representative of the cellular core's position to generate images for the perforation process, ensuring precise and controlled perforation of the facing sheet.
Furthermore, the patent describes a precursor for manufacturing a noise attenuating device, comprising a cellular core, an imperforated facing sheet bonded to the core, and a mask overlaying the facing sheet to prevent abrasive blasting at specific locations. The mask is produced using photosensitive masking material and images projected onto it to create holes in desired regions. The method outlined in the patent aims to improve the manufacturing process of noise-attenuating devices by ensuring accurate perforation of the facing sheet while avoiding damage to the cellular core structure. Additionally, the use of data for image generation enhances the precision and efficiency of the perforation process, ultimately leading to the production of high-quality noise-attenuating devices.
To know more about GlobalData’s detailed insights on Spirit AeroSystems, buy the report here.
Data Insights
From
The gold standard of business intelligence.
Blending expert knowledge with cutting-edge technology, GlobalData’s unrivalled proprietary data will enable you to decode what’s happening in your market. You can make better informed decisions and gain a future-proof advantage over your competitors.

