Rheinmetall has been granted a patent for a scroll compressor design featuring innovative components like a sliding disk, oil return channel, and gas connecting channel. The design aims to improve efficiency and performance by fluidically connecting different chambers within the compressor. GlobalData’s report on Rheinmetall gives a 360-degree view of the company including its patenting strategy. Buy the report here.

Smarter leaders trust GlobalData

Report-cover

Data Insights Rheinmetall AG - Company Profile

Buy the Report

Data Insights

The gold standard of business intelligence.

Find out more

Discover B2B Marketing That Performs

Combine business intelligence and editorial excellence to reach engaged professionals across 36 leading media platforms.

Find out more

According to GlobalData’s company profile on Rheinmetall, Instrument cluster touch interfaces was a key innovation area identified from patents. Rheinmetall's grant share as of April 2024 was 62%. Grant share is based on the ratio of number of grants to total number of patents.

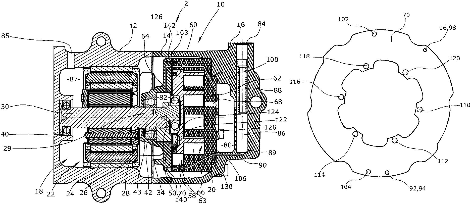
Scroll compressor with oil and gas connecting channels through sliding disk

Source: United States Patent and Trademark Office (USPTO). Credit: Rheinmetall AG

A recently granted patent (Publication Number: US11965506B2) discloses a scroll compressor design featuring a compressor housing with high-pressure and low-pressure chambers, an oil return channel with an oil return throttle, a driven eccentric unit, fixed and orbiting scrolls, a sliding disk, a back-pressure chamber, and a gas connecting channel with a gas connecting throttle. The unique feature of this compressor is the inclusion of at least one of the oil return channel and gas connecting channel extending through the sliding disk, which also incorporates the oil return throttle or gas connecting throttle.

Furthermore, the patent details additional elements such as the oil return channel and gas connecting channel extending through the fixed scroll, a gas channel in the fixed scroll connecting to the back-pressure chamber, and an oil channel in the fixed scroll connecting to the low-pressure chamber. The design also includes an oil separation chamber with an oil separator, a filter in the channels, a sliding ring in contact with the sliding disk, and a specific arrangement of the sliding disk perpendicular to the longitudinal axis of the compressor housing. Additionally, the compressor features a unique connection to an electric motor in the low-pressure chamber, enhancing its operational efficiency and performance.

To know more about GlobalData’s detailed insights on Rheinmetall, buy the report here.

Data Insights

From

The gold standard of business intelligence.

Blending expert knowledge with cutting-edge technology, GlobalData’s unrivalled proprietary data will enable you to decode what’s happening in your market. You can make better informed decisions and gain a future-proof advantage over your competitors.

GlobalData

GlobalData, the leading provider of industry intelligence, provided the underlying data, research, and analysis used to produce this article.

GlobalData Patent Analytics tracks bibliographic data, legal events data, point in time patent ownerships, and backward and forward citations from global patenting offices. Textual analysis and official patent classifications are used to group patents into key thematic areas and link them to specific companies across the world’s largest industries.