Huntington Ingalls Industries has filed a patent for a method of applying a weld to a target surface using a guide rail arrangement and a weld head carriage. The carriage is movably mounted to the guide rail arrangement and applies ultrasonic vibrations to weld feedstock material to the target surface. GlobalData’s report on Huntington Ingalls Industries gives a 360-degree view of the company including its patenting strategy. Buy the report here.
Discover B2B Marketing That Performs
Combine business intelligence and editorial excellence to reach engaged professionals across 36 leading media platforms.
According to GlobalData’s company profile on Huntington Ingalls Industries, perimeter security was a key innovation area identified from patents. Huntington Ingalls Industries's grant share as of June 2023 was 1%. Grant share is based on the ratio of number of grants to total number of patents.
Method of applying a weld using ultrasonic vibrations

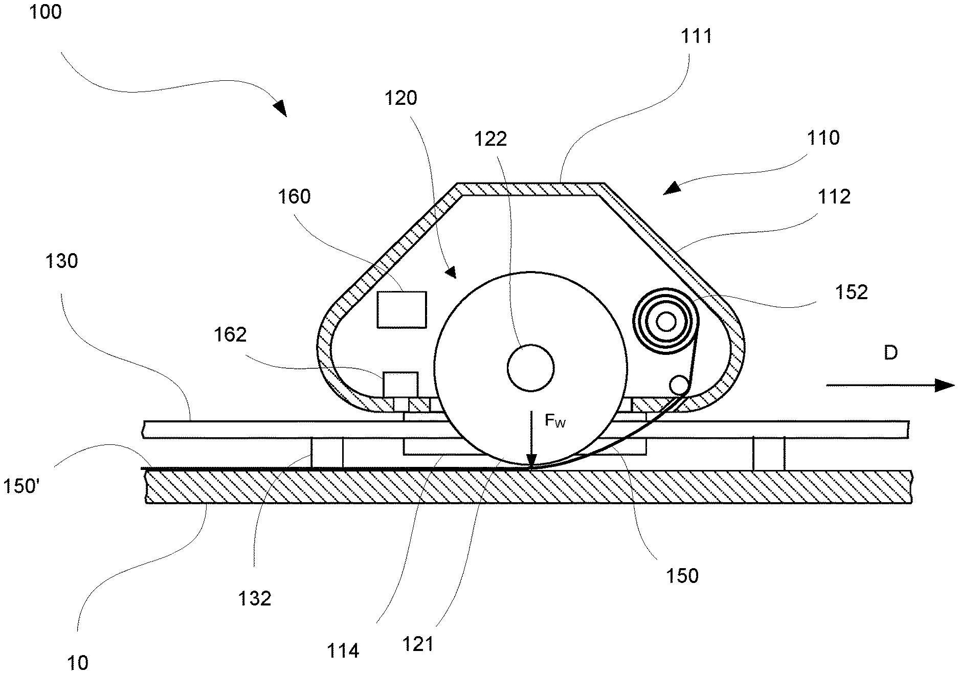
A recently filed patent (Publication Number: US20230150051A1) describes a method for applying a weld to a welding target using ultrasonic vibrations. The method involves attaching a guide rail arrangement to the welding target, which includes at least one guide rail. A weld head carriage is then movably mounted to the guide rail arrangement, and it consists of a carriage housing, a rail follower assembly, and an ultrasonic weld head with a sonotrode. The rail follower assembly engages with the guide rail for movement along it.
To begin the welding process, the weld head carriage is positioned at a starting position adjacent to the target surface of the welding target. Feedstock material is deposited onto the target surface, and a portion of the weld head carriage is extended towards the target surface, causing the sonotrode to engage with the deposited feedstock material. This applies a normal welding force to both the feedstock material and the welding target.
Once engaged, relative movement is initiated between the weld head carriage and the guide rail arrangement. Ultrasonic vibrations are conducted into the deposited feedstock material and the welding target, resulting in the welding of the feedstock material to the target surface and the addition of a welded feedstock layer to the welding target.
The method also includes the option to halt the deposition of feedstock material and the ultrasonic vibrations, retract the weld head carriage, and reposition it for the addition of another welded feedstock layer to the welding target. This allows for the creation of multiple layers.
In some embodiments, the welding target is cylindrical, and the guide rail arrangement forms a continuous ring around its circumference. The relative movement between the weld head carriage and the guide rail arrangement can be maintained through multiple orbits around the cylindrical welding target, adding multiple welded feedstock layers.
Additionally, the method can be applied to welding targets consisting of multiple objects, where the welded feedstock layer acts to bind the objects together. The guide rail arrangement includes multiple orthogonally oriented rails, allowing the weld head carriage to move along a two-dimensional path within an X-Y travel plane.
The patent also mentions the use of a support fixture with a cradle for receiving and rotatably supporting the cylindrical welding target. This allows for the rotation of the welding target during the welding process.
Overall, this patent describes a method for applying welds to welding targets using ultrasonic vibrations and a guide rail arrangement, providing a versatile and efficient approach to welding.
To know more about GlobalData’s detailed insights on Huntington Ingalls Industries, buy the report here.
Data Insights
From
The gold standard of business intelligence.
Blending expert knowledge with cutting-edge technology, GlobalData’s unrivalled proprietary data will enable you to decode what’s happening in your market. You can make better informed decisions and gain a future-proof advantage over your competitors.

