Huntington Ingalls Industries patented a welding apparatus with a guide rail arrangement, carriage, feedstock source, and ultrasonic weld head for precise welding. The apparatus includes multiple guide rails, a rectangular guide rail frame, and a rail follower assembly for accurate movement along the welding target surface. GlobalData’s report on Huntington Ingalls Industries gives a 360-degree view of the company including its patenting strategy. Buy the report here.
Discover B2B Marketing That Performs
Combine business intelligence and editorial excellence to reach engaged professionals across 36 leading media platforms.
According to GlobalData’s company profile on Huntington Ingalls Industries, Perimeter security was a key innovation area identified from patents. Huntington Ingalls Industries's grant share as of April 2024 was 71%. Grant share is based on the ratio of number of grants to total number of patents.
Ultrasonic welding apparatus with guide rails and feedstock source

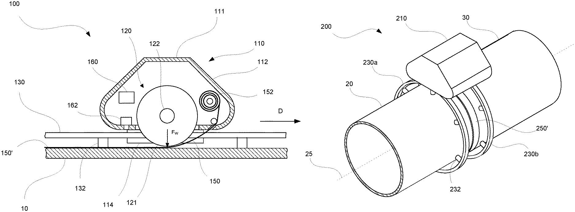
A recently granted patent (Publication Number: US11897046B2) discloses a welding apparatus designed for precision welding applications. The apparatus comprises first and second guide rails with a carriage that moves along them, depositing feedstock material on the welding target. An ultrasonic weld head attached to the carriage engages the deposited material with ultrasonic vibrations for welding. Additional guide rails can be connected to form a rectangular frame, and a rail follower assembly ensures smooth movement along the rails. The apparatus also includes mechanisms for welding force enhancement and precise movement control, with a processor providing instructions for a predetermined two-dimensional welding path.
The patent claims cover various aspects of the welding apparatus, including the attachment of guide rail supports to the welding target surface, the use of rail segments to form a continuous circumferential ring for cylindrical welding targets, and the application of metal tape as feedstock material. The apparatus is versatile, allowing for different welding configurations and precise control over the welding process. With features like ultrasonic welding and movement control mechanisms, this patented welding apparatus offers a sophisticated solution for high-quality welding applications.
To know more about GlobalData’s detailed insights on Huntington Ingalls Industries, buy the report here.
Data Insights
From
The gold standard of business intelligence.
Blending expert knowledge with cutting-edge technology, GlobalData’s unrivalled proprietary data will enable you to decode what’s happening in your market. You can make better informed decisions and gain a future-proof advantage over your competitors.

