Woodward has been granted a patent for a turbine combustor assembly featuring a unique igniter design with primary and auxiliary combustion chambers, fuel injectors, and air inlets. The design includes an ignition source and fuel outlet manifold for efficient combustion. GlobalData’s report on Woodward gives a 360-degree view of the company including its patenting strategy. Buy the report here.
Discover B2B Marketing That Performs
Combine business intelligence and editorial excellence to reach engaged professionals across 36 leading media platforms.
According to GlobalData’s company profile on Woodward, Photovoltaic drones was a key innovation area identified from patents. Woodward's grant share as of April 2024 was 60%. Grant share is based on the ratio of number of grants to total number of patents.
Turbine combustor assembly with dual-stage igniter

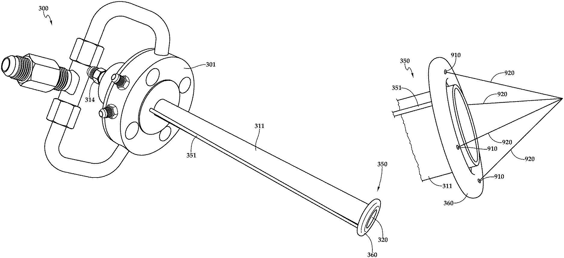
A recently granted patent (Publication Number: US11965466B2) discloses a turbine combustor assembly featuring a unique igniter design. The assembly includes a primary combustion chamber connected to a primary fuel injector and air inlet, with an igniter comprising a first stage with an auxiliary combustion chamber housing and a second stage with an auxiliary fuel outlet manifold. The auxiliary fuel outlet manifold is toroidal in shape, providing fuel to the ignited air-fuel mixture in a circumferential pattern, enhancing combustion efficiency.
The patent also details a method for operating the turbine combustor assembly, involving receiving fuel into the auxiliary combustion chamber, mixing it with incoming air, igniting the mixture, and providing additional fuel through the auxiliary fuel outlet manifold. This method ensures the efficient ignition of the air-fuel mixture in the primary combustion chamber. The design allows for controlled fuel delivery and ignition, optimizing combustion processes within the turbine combustor assembly.
To know more about GlobalData’s detailed insights on Woodward, buy the report here.
Data Insights
From
The gold standard of business intelligence.
Blending expert knowledge with cutting-edge technology, GlobalData’s unrivalled proprietary data will enable you to decode what’s happening in your market. You can make better informed decisions and gain a future-proof advantage over your competitors.

